We are Experienced
Engineers
Old Guard Industrial Group was founded in Indianapolis to provide contract machining to manufacturers.
Standard Driven
ABMA + ISO
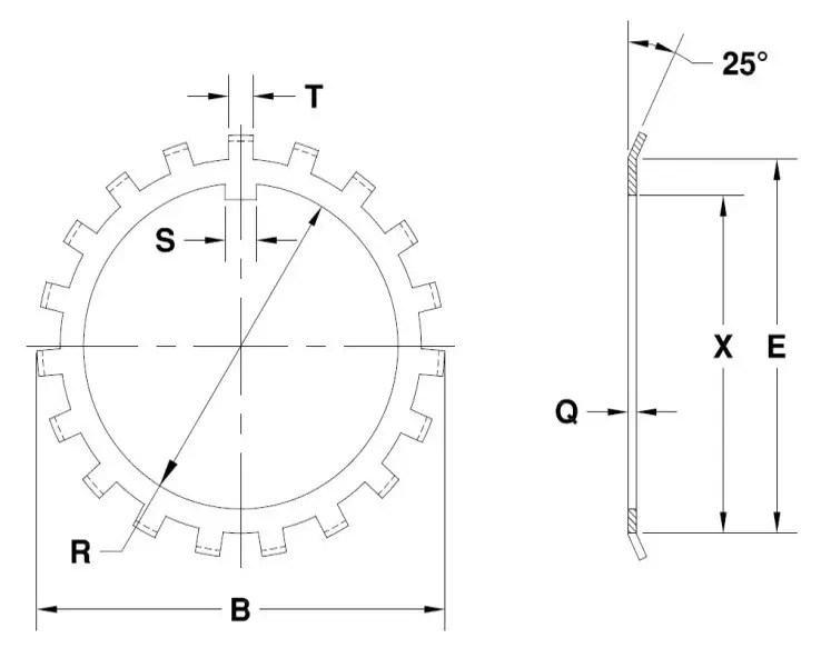
All bearing locknuts and lockwashers are made to ABMA and ISO standards using modern CNC equipment.
Made in the USA
Indianapolis, IN
We are located in a 10,000 sq ft facility on the south side of Indianapolis and all parts are made here in the USA.